“HK-600D”便攜式管孔氣體切割機,此裝置主要用于高壓容器,熱交換器的相交,連接管孔的T形接頭的高精度切割。管道相交焊接需要在主管(筒體)開孔切割。該機器是通過割炬自動上升/下降的自鎖機構,利用三角學的原理使機械裝置能夠精確跟蹤筒體曲面,來實現割炬運行的軌跡。在設計上已周密的考慮,盡量減輕機器重量,便于攜帶方便。應用無限旋轉氣體分配器,使管路不纏繞。該機器也可做普通的平面圓切斷或坡口切割。機器是由控制箱,割炬及割炬自動上升/下降的自鎖機構,主體機架所組成。各部件都由主體機架相連。通過離合裝置,使機器的運行部件脫離電動裝置而實現手動旋轉割炬,使割炬快速對齊切割起始點。機器的控制箱安裝在切割機構頂部,操作簡便,易于維修。

|
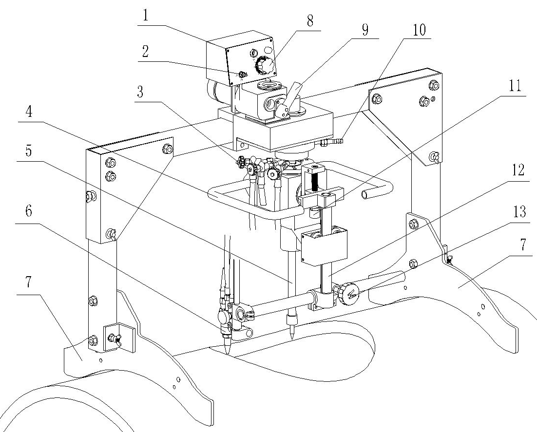
1.控制盒 |
7.支架 |
|
2.倒順開關 |
在鋼管上定位機器 |
|
3.二通閥 |
8.調速旋扭 |
|
調節氣體的流量 |
速度標記分10格,分別從0-10逐步加快。 |
|
4.把手 |
9.離合手柄 |
|
松開離合器,轉動該把手,能快速定位割炬。 |
10.進氣接頭 |
|
5.中心錐 |
11.割炬高度旋扭 |
|
對準在鋼管上要切割的圓心,割炬以中心 |
通過該旋紐可設置不同的馬鞍高度。 |
|
錐為圓心運行一圈。 |
12.滑桿 |
|
6.割炬 |
13.半徑齒條的橫移手輪。 |
技術規格
|
1.重量(主體部件) |
:46.5千克 |
|
附件 |
:3.5千克 |
|
2.裝置尺寸 |
:1060(L)×560(W)X820(H)MM(主機); |
|
3.速度控制方法 |
:可控硅控制 |
|
4.電源 |
:交流 220V±10% |
|
5.切割速度 |
:0.12~1.2rpm |
|
6.切割厚度 |
:5-50㎜ |
|
7.坡口角度 |
:0~45° |
|
8.切割鋼管直徑 |
:Φ800MM或以上(標準配置),增加附件可切割Φ250以上 |
|
9.切割有效范圍 |
: Φ80MM-Φ600MM |
|
10.切割直徑與管徑比率 |
:1:2或大于此數 |
|
11.切割最大矢量高 |
:0-96MM |
|
12.割嘴 |
: G02(適用于乙炔)或G03(適用丙烷) |
|
13.電機 |
: 110V 68W 6000轉/分鐘 |
裝箱單
將裝置小心地從包裝箱中取出。首先,檢查各部件以確認其完整無缺。下列為應收的標準零部件清單。
|
1)主體部件 |
1臺 |
|
|
2)小直徑管子切割附件 |
1套 |
|
|
3)割嘴(根據用戶需求任選一種) |
G02:1#、2#、3#(乙炔) |
各1只 |
|
G03:1#、2#、3#(丙烷) |
各1只 |
|
|
4) 進氣接頭 |
1 套 |
|
|
5) 說明書,合格證 |
各1份 |
|
|
6) 電源電纜 |
1套 |
|
|
7) 十字螺絲刀 |
1只 |
|
|
8) 通針 |
1套 |
|